
快科技10月10日消息,据媒体报道,宗馥莉在“十一”假期前已经辞任娃哈哈集团董事长兼总经理职位,此事已经通过股东会和董事会。
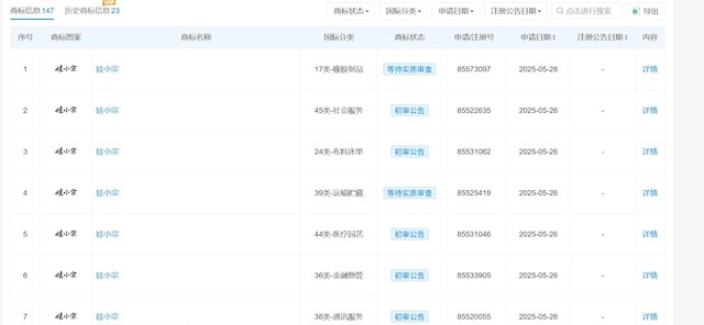
知情人士称,宗馥莉此次辞职是因为商标使用“不合规”,宗馥莉决定经营自己的品牌“娃小宗”。
据了解,宗馥莉1982年出生于浙江杭州,为杭州娃哈哈集团创始人宗庆后之女。2018年4月,宗馥莉担任娃哈哈集团品牌公关部部长,2020年3月起兼任娃哈哈集团销售公司副总经理,2021年担任娃哈哈集团副董事长兼总经理。
2024年8月,娃哈哈集团发生工商变更,宗馥莉接替去世的宗庆后,出任娃哈哈法定代表人、董事长,继续兼任总经理。
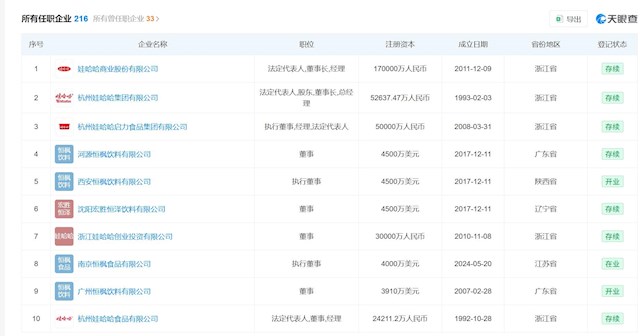
天眼查显示,宗馥莉关联企业超过200家,宗馥莉掌控的宏胜饮料集团有限公司申请了“宗小哈”、“娃小哈”和“娃小宗”等50多个商标,部分商标处于“等待实质审查”的状态,部分则是获得了初审公告。
恒汇证券提示:文章来自网络,不代表本站观点。